有没有人遇到过这种问题:明细账与实际录入不一致?

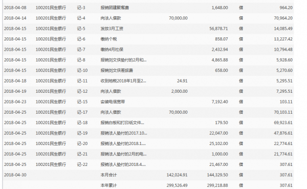
短期借款的明细账对不上,记账时录入了3笔,但明细账中只显示了2笔,漏掉了一笔

软件问题 836浏览 匿名用户 于 2883天前 发布
2 个回答

银行存款的余额是对的,像法人借款有3笔分别是记4,12,17,而短期借款--法人却只显示了2笔,缺少记4

注意看日期,例如:2月明细账只显示2月的凭证

收藏 0 收藏
关注 2 关注
0
返回顶部